€ 17,25*
*Prijzen excl. btw
Artikelnummer: 0447680000
Downloads
Technische specificaties
Productgegevens
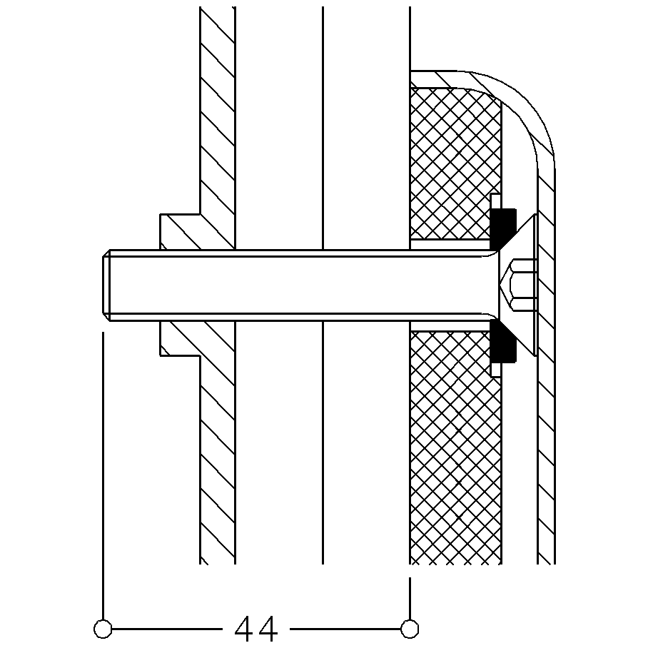
Technische tekening
Isometrische tekening
Afbeeldingsmateriaal
Product afbeelding
Totale download
ZIP-bestand
- geschikt voor: Nylon Care 300 opklapbare muursteun en muursteun, Montageplaat opklapbaar zitje en douche spatscherm Nylon Care 400 opklapbare muursteun en muursteun en Montageplaat opklapbaar zitje Special Care Adipositas opklapbare muursteun
- de montage is door een vakman uit te voeren
- Productcategorie : Bevestigingsset
- Product ontwerp : voor montage op de muur (met wandversteviging voor bevestigingsplaat uit staal)
- Productgroep : 2000
- Materiaal & leveringsomvang : 3 x verzonken schroef M10 x 60, A4-AISI 316
- Wandcondities : met bevestigingsplaat uit staal b.v. metalen consolesop lichte wanden uit gipskarton, spaanplaat, MDF Frontale bevestiging
- Kleur : Kleurloos

Aanbestedingsteksten
ausschreiben.de
Brochures & Catalogi
NORMBAU website
Fabrikant

Normbau GmbH
Schwarzwaldstraße 15
77871 Renchen
Germany
normbau@allegion.com




